Гидравлический насос и кронштейны — [0G857000 THRU 0G858150] - Belgium — купить в Victory Marine
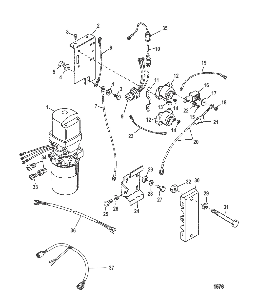
Гидравлический насос и кронштейны
1
2
3
4
5
6
8
9
10
11
12
14
15
16
17
18
19
21
22
23
24
26
27
28
30
31
33
34
35
36

Гидравлический насос и кронштейны

321 410 ₽

4 586 ₽

383 ₽

203 ₽

1 564 ₽

794 ₽

11 711 ₽

224 ₽

3 016 ₽

344 ₽

2 969 ₽

6 977 ₽

470 ₽

201 ₽

270 ₽

2 952 ₽

221 ₽

224 ₽

1 191 ₽

11 185 ₽

599 ₽

309 ₽

1 147 ₽

12 725 ₽

230 ₽

134 ₽

323 ₽

258 ₽

153 ₽

23 361 ₽

469 ₽

636 ₽

3 364 ₽

1 219 ₽

6 466 ₽

1 496 ₽

5 098 ₽

Полезные статьи

Все статьи →
Связаться с нами