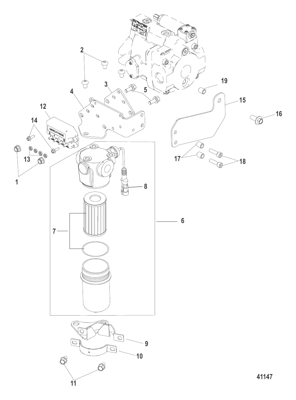
Гидравлический фильтр в сборе Высокое давление — [0M968983 THRU 0M968990] — купить в Victory Marine
Гидравлический фильтр в сборе Высокое давление
1
2
3
4
5
7
8
9
10
11
12
13
14
15
17
18

Гидравлический фильтр в сборе Высокое давление

715 ₽

440 ₽

5 543 ₽

7 543 ₽

699 ₽

6 . ФИЛЬТР В СБОРЕ Mercury 897345T71

8M0074218 → 879345T52 → 897345T71

79 526 ₽

14 933 ₽

8 . ДАТЧИК Mercury 8M6001296

8M0045299 → 8M6001296

27 849 ₽

6 913 ₽

1 558 ₽

311 ₽

14 193 ₽

13 . Гайка 68219

20645 → 33252 → 68219

72 ₽

261 ₽

3 554 ₽

273 ₽

3 076 ₽

505 ₽

1 256 ₽

Полезные статьи

Все статьи →
Связаться с нами