ГЕНЕРАТОР (DELCO REMY №1103113) — 1983-1986 [6229718 THRU 0B531853] - Cat.# 90-41261 — купить в Victory Marine
ГЕНЕРАТОР (DELCO REMY №1103113)
3
4
7
8
9
11
12
13
14
15
16
17
18
19
20
21
24
25
26
27
28
29
30
31
32
33
34

ГЕНЕРАТОР (DELCO REMY №1103113)

Уточняйте

Уточняйте

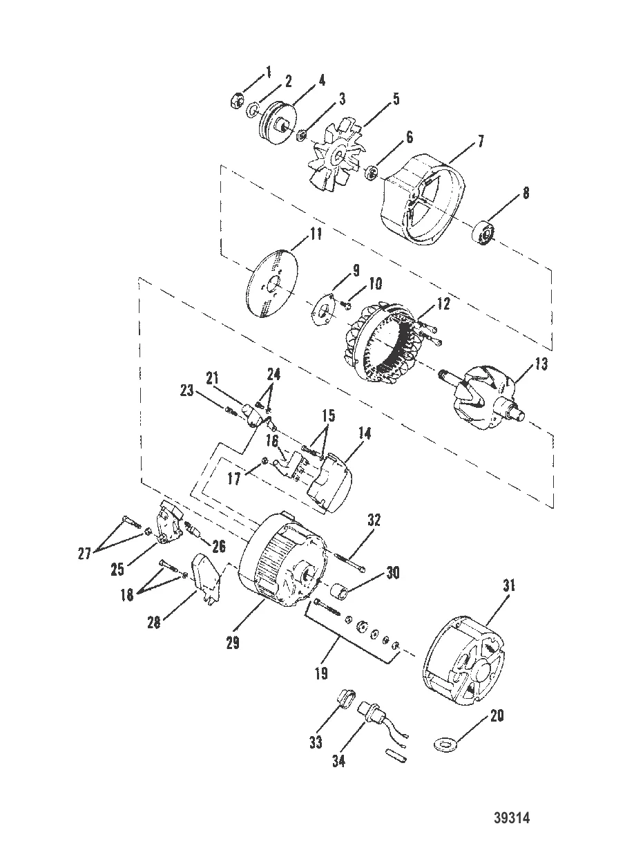
7 . РАМА Mercury 42792

56954 → 42792

Уточняйте

Уточняйте

Уточняйте

Уточняйте

Уточняйте

Уточняйте

Уточняйте

Уточняйте

Уточняйте

110 ₽

18 . ВИНТ Mercury 71703

56945 → 71703

Уточняйте

Уточняйте

Уточняйте

Уточняйте

24 . ВИНТ Mercury 60693

56951 → 60693

Уточняйте

Уточняйте

Уточняйте

27 . ВИНТ Mercury 60691

56944 → 60691

Уточняйте

Уточняйте

Уточняйте

Уточняйте

Уточняйте

Уточняйте

Уточняйте

Уточняйте

Полезные статьи

Все статьи →
Связаться с нами