GEAR HOUSING (DRIVESHAFT) - MR — Транцевая сборка R/MR/ALPHA ONE (1981-1990) — купить в Victory Marine
GEAR HOUSING (DRIVESHAFT) - MR
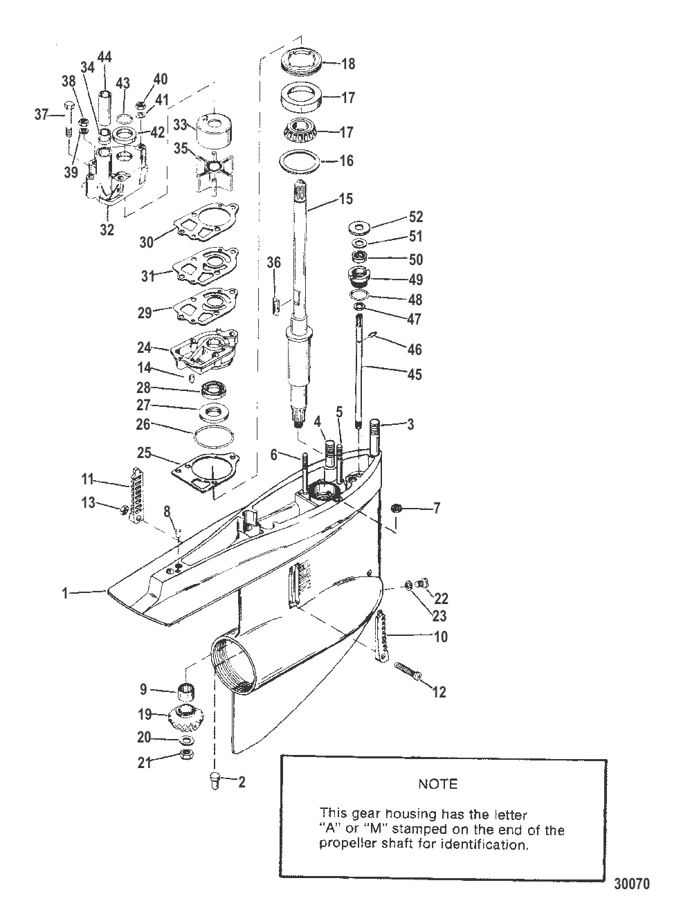
2
3
4
5
6
8
10
11
12
14
15
16
19
20
21
25
26
27
29
30
31
32
33
34
36
37
38
40
41
42
43
44
45
46
47
48
49
51
52

GEAR HOUSING (DRIVESHAFT) - MR

1 . КАРТЕР РЕДУКТОРА В СБОРЕ Mercury 8951A37

8951A27 → 8951A5 → 8951A15 → 8951A37

238 464 ₽

290 ₽

672 ₽

418 ₽

2 421 ₽

604 ₽

204 ₽

205 ₽

8 900 ₽

985 ₽

893 ₽

302 ₽

2 362 ₽

Уточняйте

123 962 ₽

814 ₽

6 500 ₽

Уточняйте

160 383 ₽

20 . ШАЙБА Mercury 92721

F694186 → 92721

171 ₽

21 . Гайка 35921

47411 → 35921

909 ₽

22 . 8M0058389 Болт с магнитом сливной (QUICKSILVER)

67892A06 → 67892A05 → 67892A1 → 67892 → 14834A1 → 14834 → 8M0058389

1 700 ₽

250 ₽

6 951 ₽

356 ₽

26 . Кольцо 8M0142854

896523 → 8M0142854

55 ₽

337 ₽

2 900 ₽

2 500 ₽

451 ₽

403 ₽

661 ₽

32 . Корпус помпы 96148T1

96148A1 → 64141A1 → 48743A1 → 96148T1

8 647 ₽

1 199 ₽

508 ₽

5 272 ₽

36 . КЛЮЧ Mercury 8M0032834

56654 → 8M0032834

323 ₽

201 ₽

266 ₽

113 ₽

342 ₽

144 ₽

Уточняйте

139 ₽

968 ₽

10 682 ₽

46 . Кольцо 29641

20233 → 29641

198 ₽

160 ₽

235 ₽

4 370 ₽

3 000 ₽

125 ₽

194 ₽

Полезные статьи

Все статьи →
Связаться с нами