GEAR HOUSING (BRAVO III) — [0B664190 THRU 0F729999] - Cat.# 90-17721 — купить в Victory Marine
GEAR HOUSING (BRAVO III)
4
7
14
15
16
23
26
28
39
43
50
52

GEAR HOUSING (BRAVO III)

307 845 ₽

Уточняйте

457 ₽

1 100 ₽

Уточняйте

236 ₽

2 800 ₽

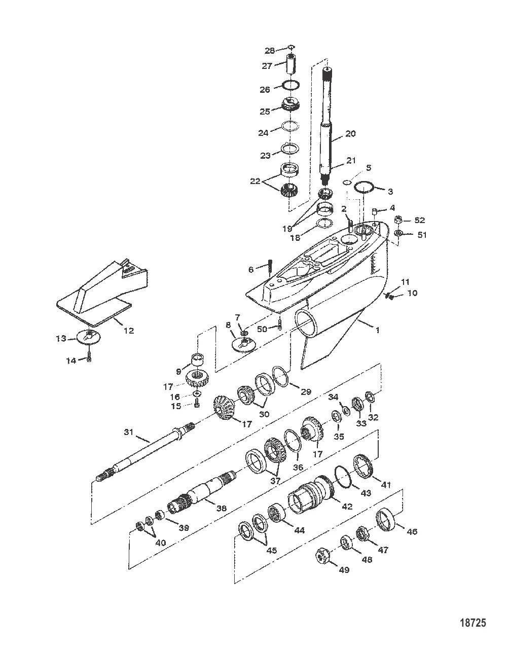
10 . 8M0058389 Болт с магнитом сливной (QUICKSILVER)

67892A06 → 67892A05 → 67892A1 → 67892 → 14834A1 → 14834 → 8M0058389

1 700 ₽

250 ₽

60 737 ₽

518 ₽

258 ₽

Уточняйте

135 000 ₽

160 000 ₽

134 908 ₽

7 500 ₽

6 700 ₽

108 000 ₽

9 000 ₽

22 . 8M0103473 Подшипник вала Mercruiser Bravo 1,2,3

86748A1 → F506818 → F508814 → 8M0103473

7 500 ₽

3 000 ₽

5 990 ₽

3 450 ₽

26 . 20826 Кольцо

20311 → 20826

250 ₽

17 226 ₽

139 ₽

10 000 ₽

130 000 ₽

10 000 ₽

2 500 ₽

1 000 ₽

9 900 ₽

22 000 ₽

175 000 ₽

5 500 ₽

14 900 ₽

68 500 ₽

206 ₽

21 000 ₽

10 990 ₽

5 200 ₽

8 900 ₽

3 000 ₽

429 ₽

300 ₽

52 . NUT Nylon 8M0143423

35053 → 8M0143423

1 431 ₽

Полезные статьи

Все статьи →
Гайды и подбор

Как выбрать лодочный мотор: полный гайд по мощности, типу и бренду

Разбираемся, как подобрать лодочный мотор под конкретную лодку и задачи. Двухтактный или четырёхтактный, сколько лошадей нужно, какой бренд выбрать — опыт 15 лет работы с моторами Mercury, Tohatsu, Yamaha и Suzuki.

2 мин.
Обслуживание и ремонт

Лодочный мотор в солёной воде — как защитить от коррозии и продлить ресурс

Солёная вода — главный враг подвесного мотора. Рассказываем, как правильно промывать двигатель после моря, когда менять аноды, чем обрабатывать редуктор и что делать, чтобы мотор прожил долго.

1 мин.
Гайды и подбор

Техосмотр лодки в ГИМС — что проверяют, документы и как пройти с первого раза

Полный гайд по техосмотру маломерного судна: кто обязан проходить, какие документы нужны, что именно проверяет инспектор и почему 40% лодок заворачивают с первого раза.

1 мин.
Связаться с нами