Фильтр забортной воды — [88020001 THRU 88020166] — купить в Victory Marine
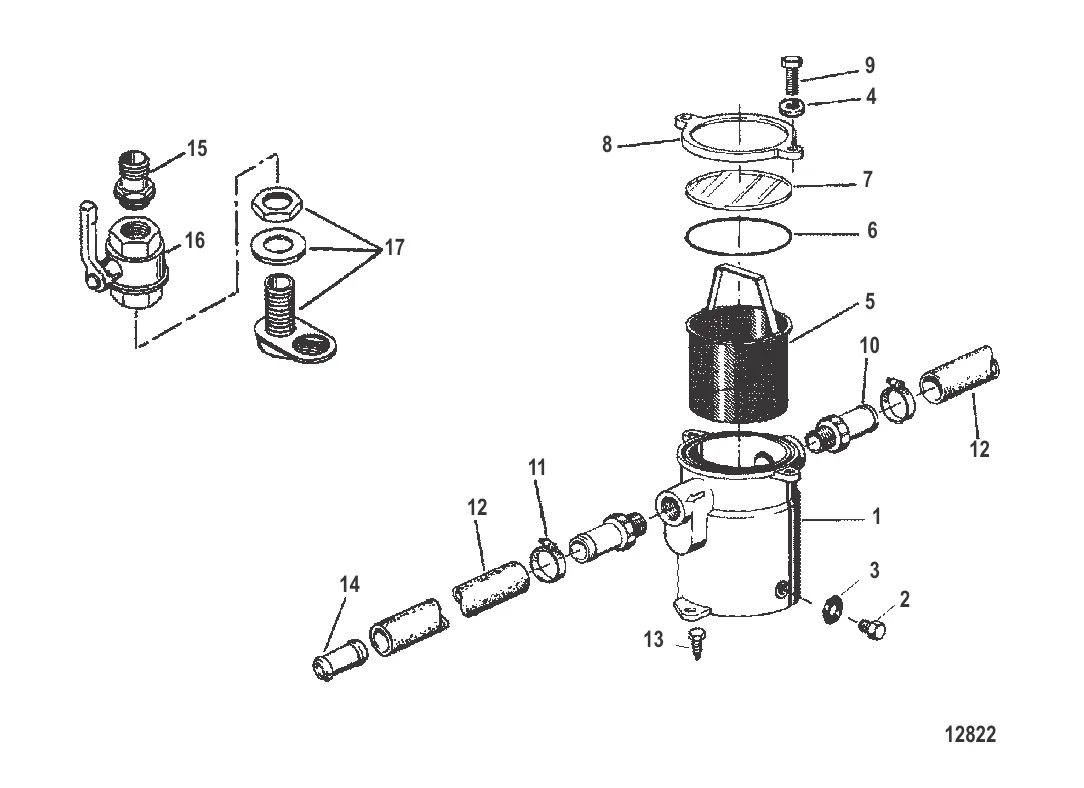
Фильтр забортной воды
1
2
3
4
5
6
7
8
9
10
12
13
14
15
16
17

Фильтр забортной воды

63 922 ₽

1 216 ₽

3 . ШАЙБА Mercury 889153

809963201 → 801765058 → 889153

109 ₽

4 . ШАЙБА Mercury 879194141

811384 → 879194141

27 ₽

8 031 ₽

385 ₽

2 861 ₽

Уточняйте

65 ₽

2 790 ₽

554 ₽

12 . РУКАВ Mercury 816172

816996 → 816172

5 045 ₽

161 ₽

6 220 ₽

5 115 ₽

19 936 ₽

28 478 ₽

Полезные статьи

Все статьи →
Связаться с нами