Электронный блок управления в сборе — [0D082000 THRU 0G303045] - USA — купить в Victory Marine
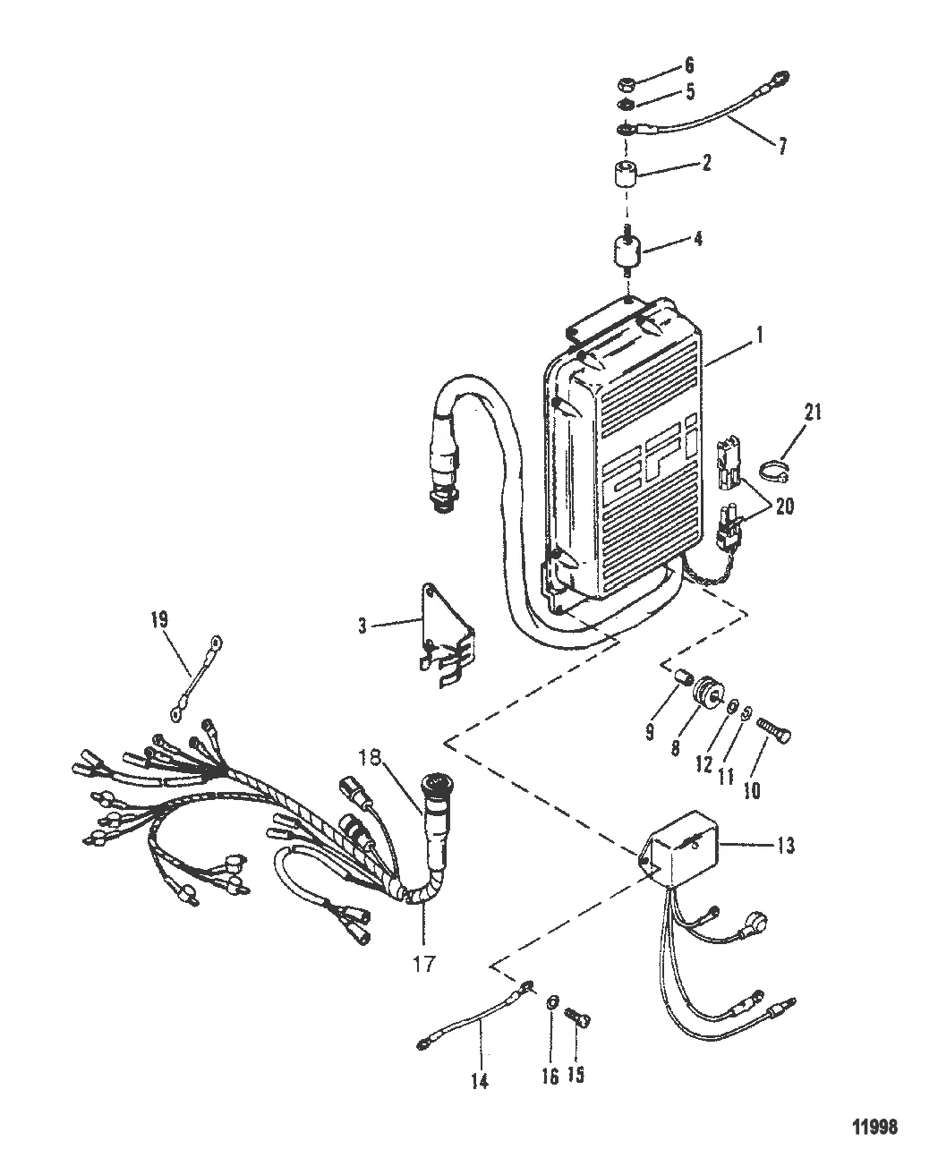
Электронный блок управления в сборе
1
2
3
4
5
6
7
8
9
10
13
14
15
16
17
18
19
20
21

Электронный блок управления в сборе

1 . ECU Mercury 824003T02

824003A2 → 824003T02

252 587 ₽

1 . ECU Mercury 824003T01

824003A1 → 824003T01

257 898 ₽

1 . ECU Mercury 824003T04

824003A4 → 824003T04

252 585 ₽

1 564 ₽

3 477 ₽

8 986 ₽

1 030 ₽

6 . Гайка 8267089

20361 → 98451 → 8267089

140 ₽

1 049 ₽

740 ₽

311 ₽

301 ₽

109 ₽

292 ₽

25 971 ₽

589 ₽

232 ₽

228 ₽

94 044 ₽

2 605 ₽

409 ₽

1 772 ₽

45 ₽

Полезные статьи

Все статьи →
Связаться с нами