Электрические компоненты Монтаж катушки зажигания и ECU — [1B172291 THRU 1B366822] - USA — купить в Victory Marine
Электрические компоненты Монтаж катушки зажигания и ECU
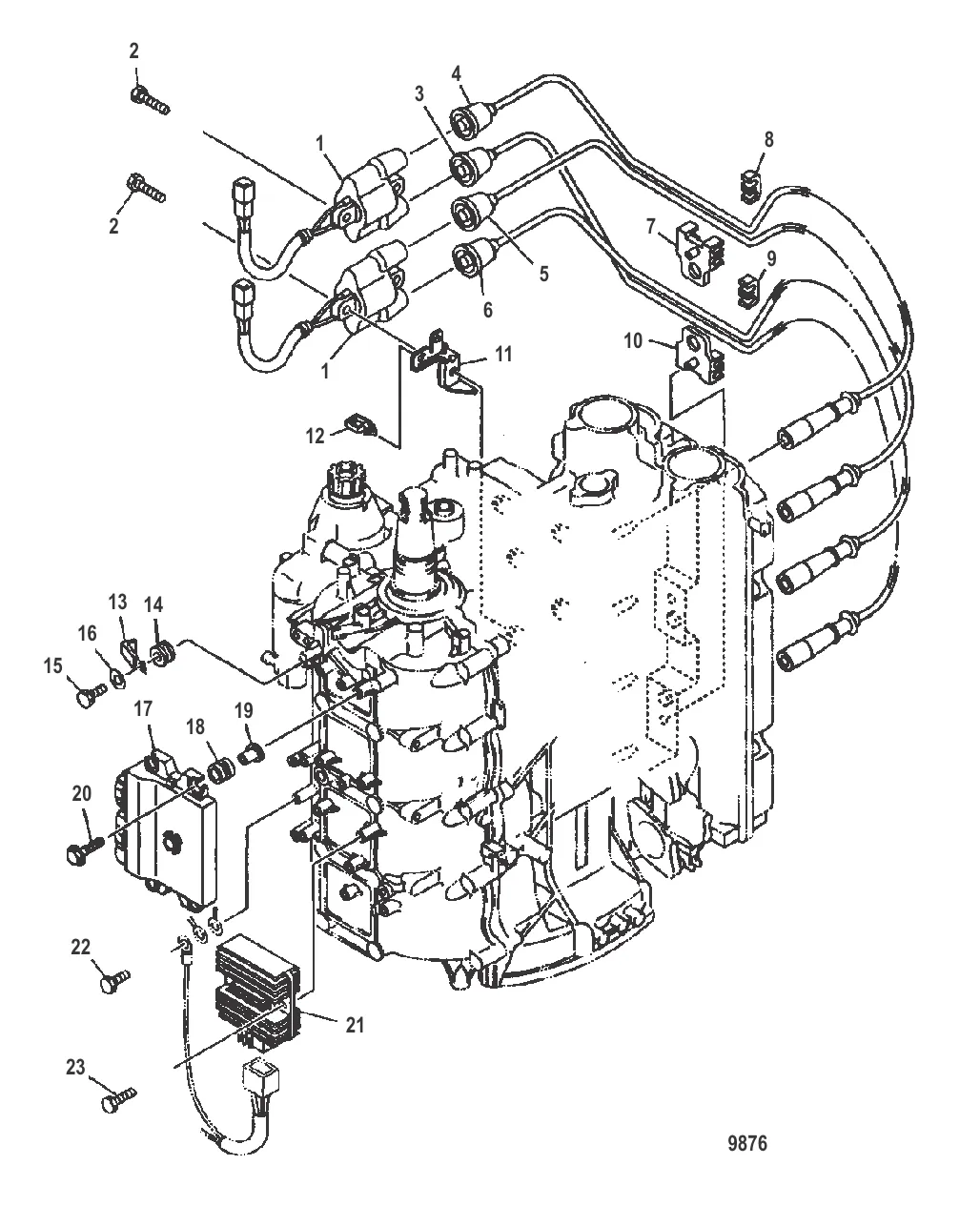
6
9
10
11
12
13
14
15
16
19
20
22
23

Электрические компоненты Монтаж катушки зажигания и ECU

13 523 ₽

10 800 ₽

Уточняйте

81 ₽

134 ₽

1 088 ₽

92 ₽

262 ₽

298 ₽

15 . БОЛТ Mercury 84368M

82449M → 84368M

Уточняйте

16 . ШАЙБА Mercury 82214M

82199M → 82214M

22 ₽

179 970 ₽

196 384 ₽

184 584 ₽

17 . ECU Mercury 8M0121259

880891T15 → 8M0121259

Уточняйте

389 ₽

682 ₽

Уточняйте

17 569 ₽

115 ₽

89 ₽

Полезные статьи

Все статьи →
Связаться с нами