Двигатель для тралового лова в сборе (Модель SW46HT) (12 В) — [9B000001 & Up] — купить в Victory Marine
Двигатель для тралового лова в сборе (Модель SW46HT) (12 В)
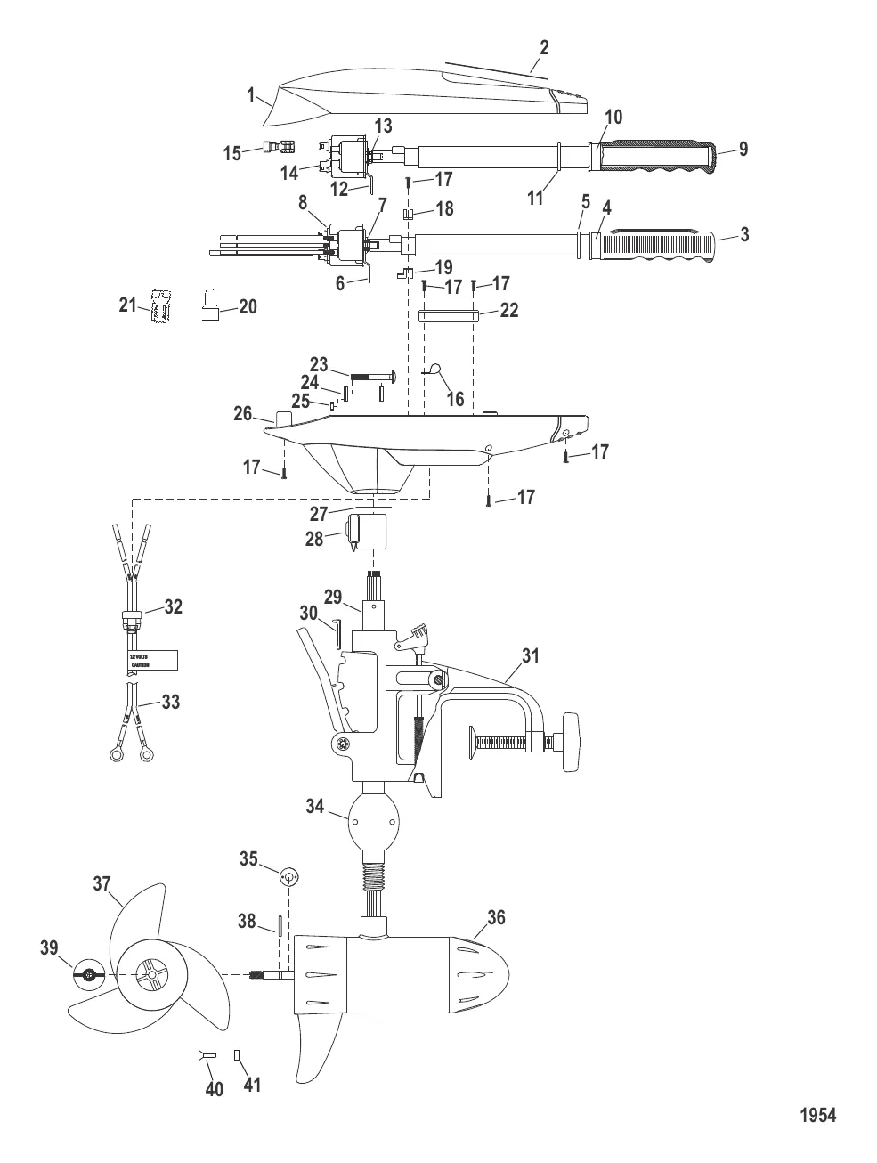
1
2
8
9
10
11
13
16
17
18
19
21
22
23
24
27
31
34
36
39
40

Двигатель для тралового лова в сборе (Модель SW46HT) (12 В)

3 727 ₽

1 788 ₽

677 ₽

2 856 ₽

10 311 ₽

23 220 ₽

1 061 ₽

877 ₽

2 265 ₽

464 ₽

3 192 ₽

496 ₽

77 ₽

73 ₽

1 876 ₽

1 096 ₽

511 ₽

21 . TERMINAL @10 Mercury MBR16102T

MBR16102 → MBR16102T

141 ₽

21 . TERMINAL @10 Mercury MBR16103T

MBR16103 → MBR16103T

135 ₽

22 . PLATE Mercury MAT15506T

MAT15506 → MAT15506T

889 ₽

558 ₽

24 . шайба@10 Mercury MTT17108T

MTT17108 → MTT17108T

324 ₽

388 ₽

6 951 ₽

26 . ORD M899373A1 Mercury M899373T

MET004207 → M899373T

2 597 ₽

4 662 ₽

507 ₽

14 707 ₽

2 025 ₽

50 505 ₽

502 ₽

2 279 ₽

2 432 ₽

2 822 ₽

237 ₽

36 . LOWER UNIT ASSY Mercury M899444T

MEF397062 → M899444T

61 181 ₽

348 ₽

587 ₽

224 ₽

892 ₽

Полезные статьи

Все статьи →
Связаться с нами