Двигатель для тралового лова в сборе (Модель HVT3700) (12 В) — [1996 & Up] — купить в Victory Marine
Двигатель для тралового лова в сборе (Модель HVT3700) (12 В)
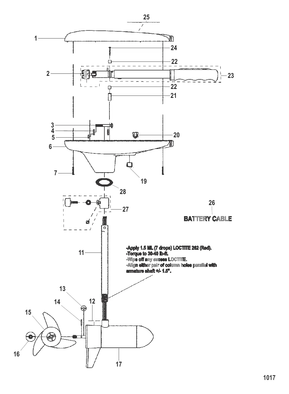
1
3
4
6
7
12
14
16
19
20
21
22
23
24
25
26
28

Двигатель для тралового лова в сборе (Модель HVT3700) (12 В)

2 580 ₽

3 192 ₽

558 ₽

4 . шайба@10 Mercury MTT17108T

MTT17108 → MTT17108T

324 ₽

388 ₽

1 199 ₽

7 . винт @10 Mercury MLF14104T

MLF14104 → MLF14104T

186 ₽

14 707 ₽

15 180 ₽

89 ₽

311 ₽

237 ₽

305 ₽

6 045 ₽

587 ₽

Уточняйте

447 ₽

287 ₽

22 . зажим @5 Mercury MAR03601T

MAR03601 → MAR03601T

375 ₽

7 020 ₽

24 . винт @5 Mercury MRT13301T

MRT13301 → MRT13301T

Уточняйте

301 ₽

2 850 ₽

507 ₽

Полезные статьи

Все статьи →
Связаться с нами