Двигатель для тралового лова в сборе (Модель GWB72V / GWT72V) (24 В) — [1999 THRU 2002] — купить в Victory Marine
Двигатель для тралового лова в сборе (Модель GWB72V / GWT72V) (24 В)
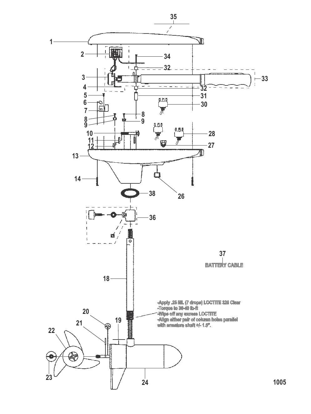
1
2
3
4
5
7
9
10
11
13
14
19
26
27
31
32
33
34
35
37

Двигатель для тралового лова в сборе (Модель GWB72V / GWT72V) (24 В)

5 015 ₽

515 ₽

13 017 ₽

382 ₽

Уточняйте

122 ₽

Уточняйте

244 ₽

158 ₽

558 ₽

11 . шайба@10 Mercury MTT17108T

MTT17108 → MTT17108T

324 ₽

388 ₽

2 724 ₽

14 . винт @10 Mercury MXF14104T

MXF14104 → MXF14104T

468 ₽

14 707 ₽

15 180 ₽

18 . COLUMN-50 INCH Mercury MFR04931T

MFR04913 → MFR04931T

20 862 ₽

177 ₽

237 ₽

348 ₽

587 ₽

Уточняйте

Уточняйте

447 ₽

3 315 ₽

6 770 ₽

1 082 ₽

32 . зажим @5 Mercury MAR03601T

MAR03601 → MAR03601T

375 ₽

33 . Ручка ASSY Mercury M899537T

MAT372042 → M899537T

25 884 ₽

34 . винт @5 Mercury MRT13301T

MRT13301 → MRT13301T

Уточняйте

Уточняйте

299 ₽

3 038 ₽

507 ₽

Полезные статьи

Все статьи →
Обслуживание и ремонт

Белый, синий, чёрный дым из лодочного мотора — о чём говорит цвет выхлопа

Цвет дыма из выхлопа лодочного мотора — первый диагностический сигнал о проблеме. Разбираем, что означает белый, синий и чёрный дым, чем отличается норма от неисправности, и как ведут себя двух- и четырёхтактные моторы.

1 мин.
Сравнения и обзоры

НДНД, аирдек или пайол — какое дно лодки ПВХ лучше: сравнение

Разбираем три типа дна лодок ПВХ — НДНД, аирдек и жёсткий пайол. Сравниваем по жёсткости, весу, комфорту и цене, чтобы вы выбрали идеальный вариант для рыбалки, охоты или отдыха.

1 мин.
Гайды и подбор

Лодочный мотор без прав и регистрации — какая мощность разрешена

Разбираемся, какой мотор можно ставить без прав и регистрации в ГИМС. Правило 200 кг и 8 кВт, путаница с лошадиными силами, что реально проверяют инспекторы и чем грозит нарушение.

1 мин.
Связаться с нами