Двигатель для тралового лова в сборе (Модель GWB67V / GWT67V) (24 В) — [1999 THRU 2002] — купить в Victory Marine
Двигатель для тралового лова в сборе (Модель GWB67V / GWT67V) (24 В)
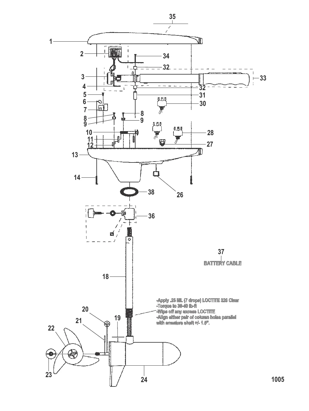
1
2
3
4
5
6
7
9
10
11
12
13
14
21
23
26
27
28
30
31
32
33
34
35
38

Двигатель для тралового лова в сборе (Модель GWB67V / GWT67V) (24 В)

2 317 ₽

515 ₽

13 017 ₽

382 ₽

Уточняйте

122 ₽

Уточняйте

158 ₽

558 ₽

11 . шайба@10 Mercury MTT17108T

MTT17108 → MTT17108T

324 ₽

12 . ГАЙКА Mercury MXT09801

834372E → MXT09801

243 ₽

2 724 ₽

14 . винт @10 Mercury MXF14104T

MXF14104 → MXF14104T

468 ₽

14 707 ₽

15 180 ₽

18 . COLUMN-50 INCH Mercury MFR04931T

MFR04913 → MFR04931T

20 862 ₽

237 ₽

305 ₽

6 045 ₽

587 ₽

38 309 ₽

Уточняйте

447 ₽

3 315 ₽

6 770 ₽

1 082 ₽

32 . зажим @5 Mercury MAR03601T

MAR03601 → MAR03601T

375 ₽

33 . Ручка ASSY Mercury M899537T

MAT372042 → M899537T

25 884 ₽

34 . винт @5 Mercury MRT13301T

MRT13301 → MRT13301T

Уточняйте

318 ₽

369 ₽

2 187 ₽

507 ₽

Полезные статьи

Все статьи →
Связаться с нами