Двигатель для тралового лова в сборе (Модель DS54FB) (12 В) — [9B189787 & Up] — купить в Victory Marine
Двигатель для тралового лова в сборе (Модель DS54FB) (12 В)
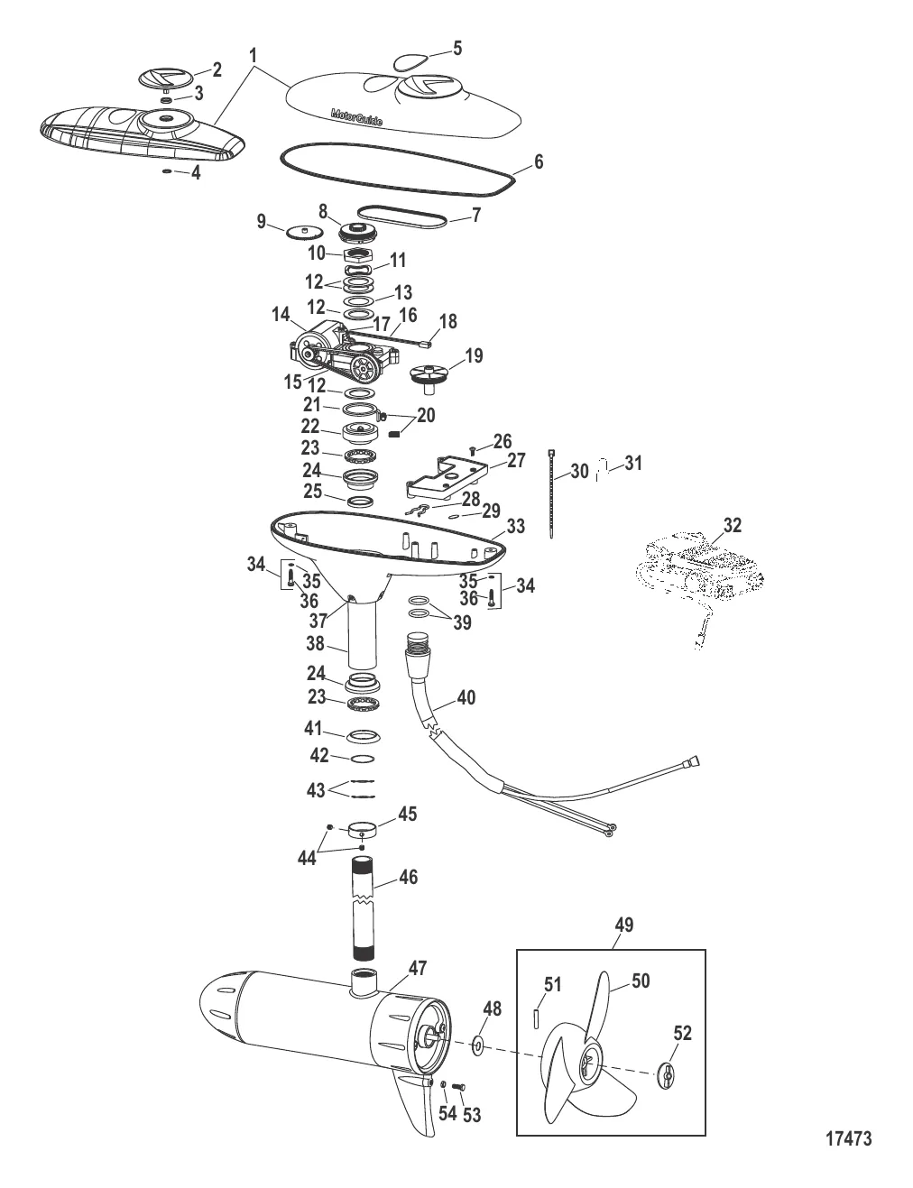
2
3
4
5
6
7
8
9
10
11
12
13
14
15
16
17
18
19
20
21
22
25
26
27
28
29
30
32
36
37
39
40
41
43
45
47
52
53

Двигатель для тралового лова в сборе (Модель DS54FB) (12 В)

5 652 ₽

2 845 ₽

2 996 ₽

2 . INDICATOR Mercury M0094004T

M0094004 → M0094004T

1 915 ₽

1 123 ₽

4 . зажим Mercury M00943T

M00943 → M00943T

443 ₽

588 ₽

718 ₽

1 328 ₽

464 ₽

8 . GEAR @2 Mercury M00939T

M00939 → M00939T

382 ₽

9 . GEAR Mercury M00949T

M00949 → M00949T

916 ₽

1 218 ₽

1 023 ₽

12 . шайба Mercury M00946T

M00946 → M00946T

223 ₽

58 ₽

38 857 ₽

989 ₽

2 832 ₽

28 ₽

73 ₽

750 ₽

Уточняйте

42 ₽

534 ₽

22 . зажим Mercury M00944T

M00944 → M00944T

2 116 ₽

1 360 ₽

996 ₽

900 ₽

1 731 ₽

195 ₽

26 . винт @6 Mercury M0100008T

M0100008 → M0100008T

58 ₽

18 812 ₽

208 ₽

29 . VENT PATCH Mercury M01261T

M01261 → M01261T

788 ₽

353 ₽

45 ₽

511 ₽

112 ₽

55 734 ₽

Уточняйте

1 100 ₽

633 ₽

42 ₽

45 ₽

317 ₽

6 797 ₽

73 ₽

21 145 ₽

2 627 ₽

122 ₽

739 ₽

246 ₽

899 ₽

7 138 ₽

3 090 ₽

13 363 ₽

65 044 ₽

237 ₽

348 ₽

587 ₽

224 ₽

892 ₽

Полезные статьи

Все статьи →
Сравнения и обзоры

Инжектор vs карбюратор на лодочном моторе — преимущества EFI

Сравниваем инжекторную (EFI) и карбюраторную топливные системы на лодочных моторах. Разбираем расход топлива, холодный запуск, обслуживание и цену — и объясняем, почему Mercury перевели все моторы на EFI.

1 мин.
Гайды и подбор

Ловля леща на кольцо и яйца с лодки — снасть, монтаж, техника

Разбираем снасть «кольцо» и «яйца» для ловли леща с лодки: монтаж, выбор каши, постановка на якорь и типичные ошибки. Всё, что нужно знать, чтобы вернуться с полным садком.

1 мин.
Гайды и подбор

Троллинг с лодки — мотор, снасти, оборудование для начинающих

Разбираемся, что нужно для троллинга с лодки: какой мотор подойдёт, какие снасти взять, зачем нужен даунриггер и эхолот. Практические советы для тех, кто только начинает ловить на дорожку.

1 мин.
Связаться с нами