Distributor & Ignition Components (Thunderbolt IV Ignition) — 1987-1995 [0B514627 THRU 0F775199] - Cat.# 90-17740 — купить в Victory Marine
Distributor & Ignition Components (Thunderbolt IV Ignition)
3
4
9
10
11
12
13
15
16
20
21
23
24
26
27
28
29
31

Distributor & Ignition Components (Thunderbolt IV Ignition)

89 333 ₽

9 800 ₽

121 ₽

728 ₽

2 300 ₽

16 000 ₽

205 ₽

348 ₽

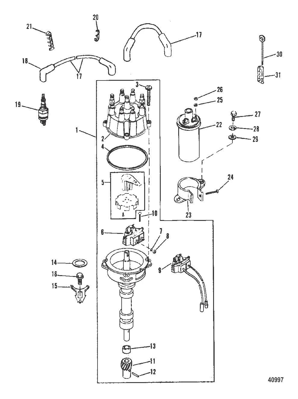
11 . GEAR Mercury 8M0115498

8M0079425 → 8M0115498

13 270 ₽

434 ₽

1 311 ₽

700 ₽

15 . ЗАЖИМ Mercury 88731

52185 → 35369 → 88731

1 183 ₽

715 ₽

14 700 ₽

12 552 ₽

862 ₽

1 100 ₽

711 ₽

552 ₽

19 000 ₽

Уточняйте

344 ₽

26 . Гайка 68219

20645 → 33252 → 68219

72 ₽

152 ₽

28 . Шайба 26996

20040 → 26996

140 ₽

29 . Шайба 20084

46680 → 20084

401 ₽

1 978 ₽

699 ₽

Полезные статьи

Все статьи →
Связаться с нами