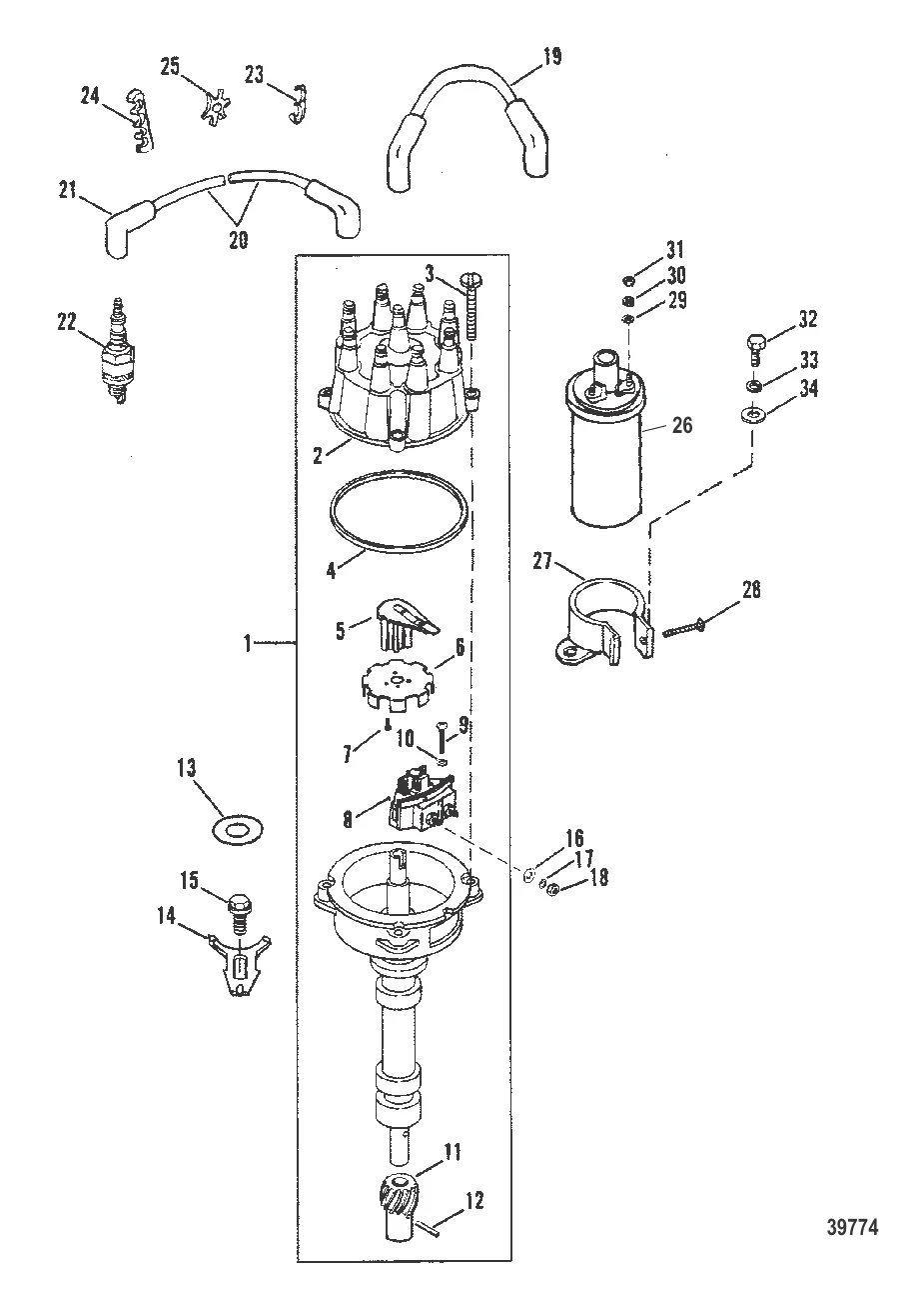
Distributor & Ignition Components — 1985-1987 [0A331455 THRU 0B527954] - Cat.# 90-13008 — купить в Victory Marine

Distributor & Ignition Components

19 000 ₽

Полезные статьи

Все статьи →
Связаться с нами