Distributor and Ignition Components — 1986-1988 [0A631894 THRU 0B785148] - Belgium - Cat.# 90-14296 — купить в Victory Marine
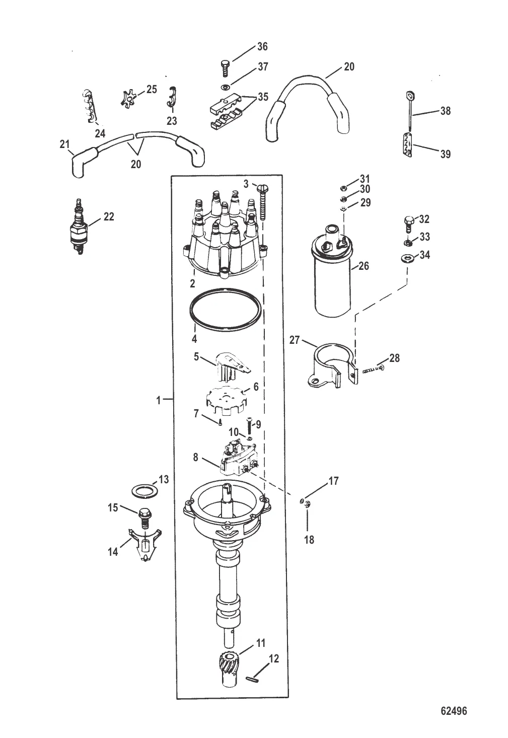
Distributor and Ignition Components
3
4
6
7
8
9
10
11
12
14
15
23
24
25
27
28
30
31
32
33
34
35
36
37
39

Distributor and Ignition Components

89 333 ₽

9 800 ₽

121 ₽

728 ₽

2 300 ₽

Уточняйте

118 ₽

16 000 ₽

Уточняйте

228 ₽

11 . GEAR Mercury 8M0115498

8M0079425 → 8M0115498

13 270 ₽

434 ₽

700 ₽

14 . ЗАЖИМ Mercury 88731

52185 → 35369 → 88731

1 183 ₽

15 . ВИНТ (0.375-16 x 1.00) Mercury 11976

35169 → FI1101095 → 11976

664 ₽

20 . жгут проводов-зажигание Mercury 816608Q61

816608A61 → 816761A15 → 816761A2 → 813720A2 → 43376A2 → 42841A5 → 816608Q61

14 109 ₽

862 ₽

1 100 ₽

711 ₽

552 ₽

406 ₽

19 000 ₽

Уточняйте

344 ₽

244 ₽

30 . Шайба 26996

20040 → 26996

140 ₽

31 . Гайка 68219

20645 → 33252 → 68219

72 ₽

2 001 ₽

216 ₽

34 . Шайба 20084

46680 → 20084

401 ₽

Уточняйте

248 ₽

179 ₽

1 978 ₽

699 ₽

Полезные статьи

Все статьи →
Связаться с нами