Блок с пластинчатыми клапанами и головка цилиндра — [0C239553 THRU 0D081999] - USA - Cat.# 90-81609890 — купить в Victory Marine
Блок с пластинчатыми клапанами и головка цилиндра
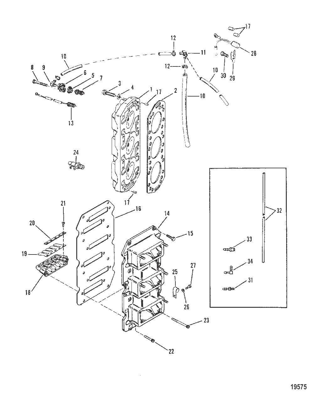
1
2
3
4
5
6
7
8
11
12
13
14
16
17
19
20
21
23
25
26
27
28
29
30
31
32
33
34

Блок с пластинчатыми клапанами и головка цилиндра

65 217 ₽

88 927 ₽

Уточняйте

9 237 ₽

Уточняйте

7 518 ₽

229 ₽

179 ₽

5 . Прокладка 62386001

62386 → 62386B → 62386001

221 ₽

6 762 ₽

2 817 ₽

116 ₽

5 631 ₽

9 225 ₽

3 399 ₽

45 ₽

13 593 ₽

Уточняйте

16 388 ₽

198 ₽

1 684 ₽

2 858 ₽

626 ₽

Уточняйте

19 308 ₽

10 256 ₽

9 136 ₽

1 194 ₽

5 079 ₽

75 ₽

284 ₽

678 ₽

19 970 ₽

Уточняйте

765 ₽

152 ₽

144 ₽

8 825 ₽

569 ₽

152 ₽

1 500 ₽

6 600 ₽

4 296 ₽

33 . 426233 ОБРАТНЫЙ КЛАПАН Mercury

426231 → 42623 → 91933 → 426233

Уточняйте

2 033 ₽

Полезные статьи

Все статьи →
Связаться с нами