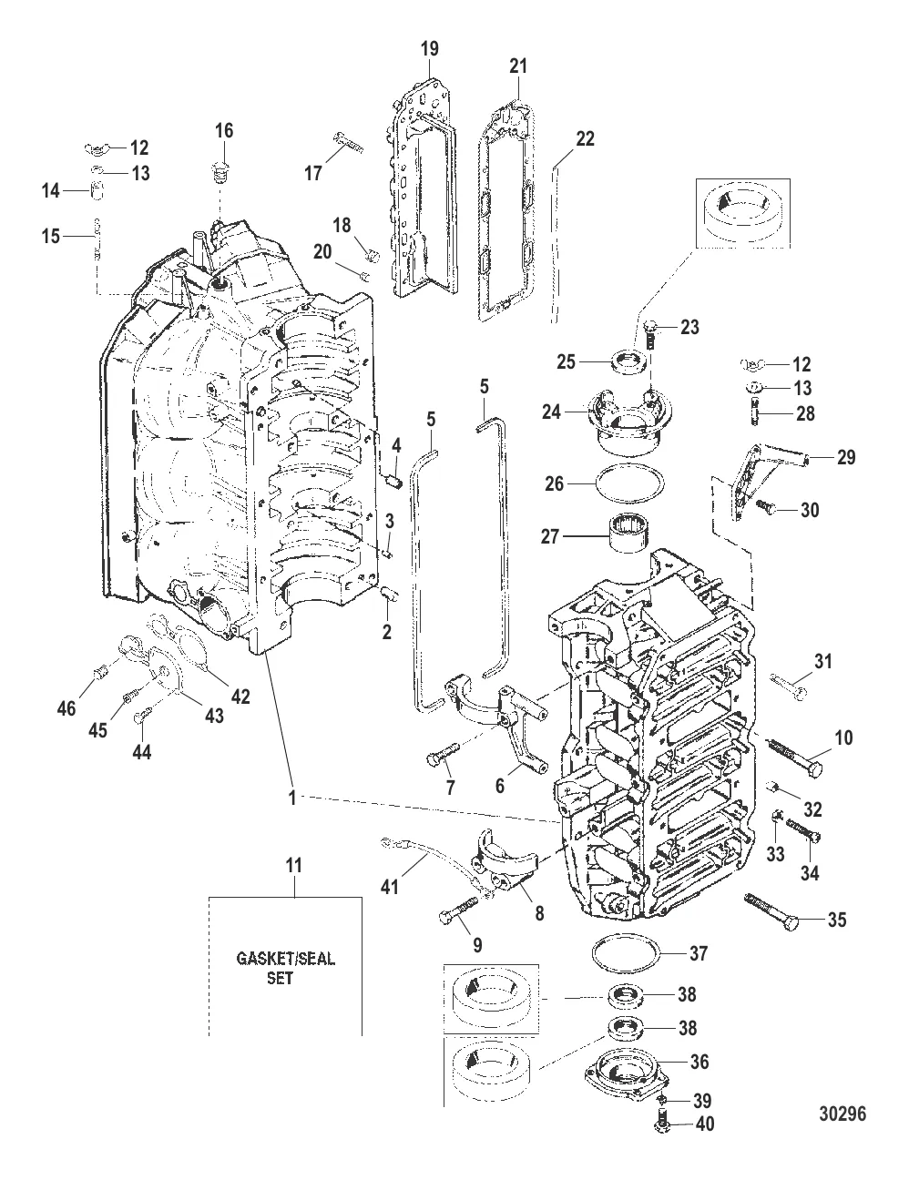
Блок цилиндров в сборе — [0E370718 THRU 0E379930] - USA — купить в Victory Marine
Блок цилиндров в сборе
1
3
4
5
6
8
12
13
14
15
16
17
21
22
26
27
28
29
30
31
32
33
34
35
37
40
41
42
43
45
46

Блок цилиндров в сборе

639 503 ₽

808 265 ₽

306 ₽

3 . ШТИФТ Mercury 8M0036405

67296 → 8M0036405

462 ₽

512 ₽

242 ₽

20 574 ₽

205 ₽

8 . КРЫШКА Mercury 76867

66761 → 56030 → 76867

4 193 ₽

259 ₽

69 684 ₽

626 ₽

77 ₽

645 ₽

626 ₽

1 134 ₽

266 ₽

223 ₽

449 ₽

767 ₽

54 385 ₽

1 000 ₽

5 440 ₽

1 217 ₽

113 ₽

58 559 ₽

702 ₽

12 923 ₽

1 340 ₽

8 154 ₽

140 ₽

225 ₽

565 ₽

33 . ГАЙКА (0.250-20) Mercury 64015

F1341 → F15051 → 64015

266 ₽

448 ₽

631 ₽

40 640 ₽

579 ₽

Уточняйте

109 ₽

251 ₽

2 447 ₽

383 ₽

9 160 ₽

339 ₽

133 ₽

46 . Пробка 36382

35167 → 36382

699 ₽

Полезные статьи

Все статьи →
Связаться с нами