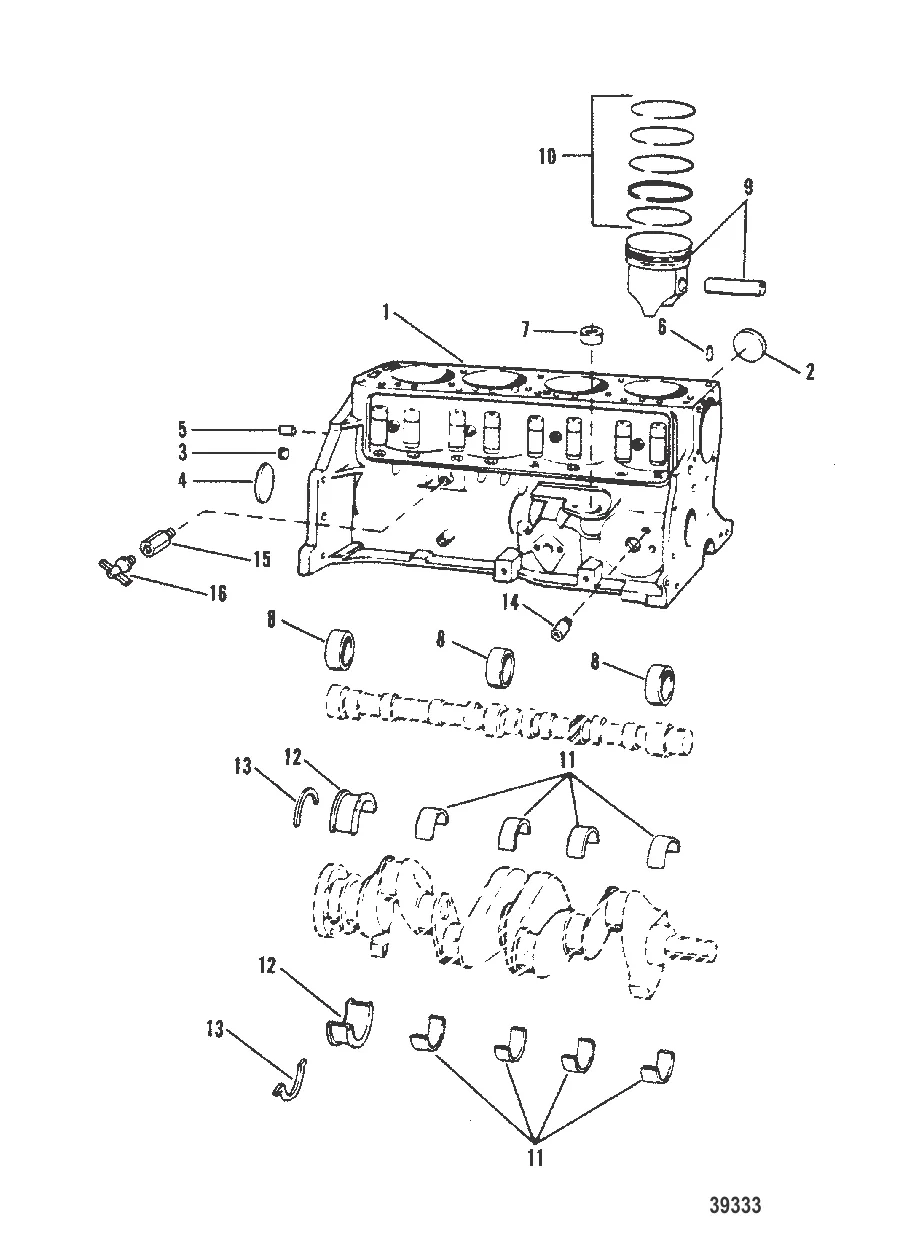
БЛОК ЦИЛИНДРОВ, ПОРШЕНЬ И ПОДШИПНИКИ (140-3.0L/181 CID) — 1987-1989 [0B450801 THRU 0C856558] - Cat.# 90-41261 — купить в Victory Marine
БЛОК ЦИЛИНДРОВ, ПОРШЕНЬ И ПОДШИПНИКИ (140-3.0L/181 CID)
1
3
4
7
8
9
11
13
14
15
16

БЛОК ЦИЛИНДРОВ, ПОРШЕНЬ И ПОДШИПНИКИ (140-3.0L/181 CID)

Уточняйте

1 072 ₽

2 714 ₽

323 ₽

332 ₽

443 ₽

6 . ШТИФТ Штифт (0.312) Mercury 35465

FI1100750 → F141216 → 35465

608 ₽

Уточняйте

13 530 ₽

Уточняйте

46 096 ₽

6 324 ₽

5 592 ₽

Уточняйте

Уточняйте

Уточняйте

Уточняйте

36 862 ₽

19 853 ₽

30 373 ₽

16 112 ₽

15 027 ₽

1 768 ₽

Уточняйте

977 ₽

Полезные статьи

Все статьи →
Гайды и подбор

Какой мотор Mercury не нужно регистрировать в ГИМС — полная таблица моделей

Полная таблица моторов Mercury с указанием мощности в кВт и статуса регистрации. Какие модели можно ставить без ГИМС, прав и техосмотра.

1 мин.
Гайды и подбор

Человек за бортом — алгоритм действий и манёвр спасения

Пошаговый алгоритм спасения человека за бортом: немедленные действия, манёвры Вильямсона и Шарнова, подход к пострадавшему, борьба с гипотермией. Теория и практические советы для каждого судоводителя.

1 мин.
Гайды и подбор

Что проверяет ГИМС при остановке на воде — памятка судоводителю

Остановка инспектором ГИМС — стандартная процедура, а не повод для паники. Разбираем, что имеет право проверять инспектор, какие документы и снаряжение должны быть на борту и какие штрафы грозят за нарушения.

1 мин.
Связаться с нами