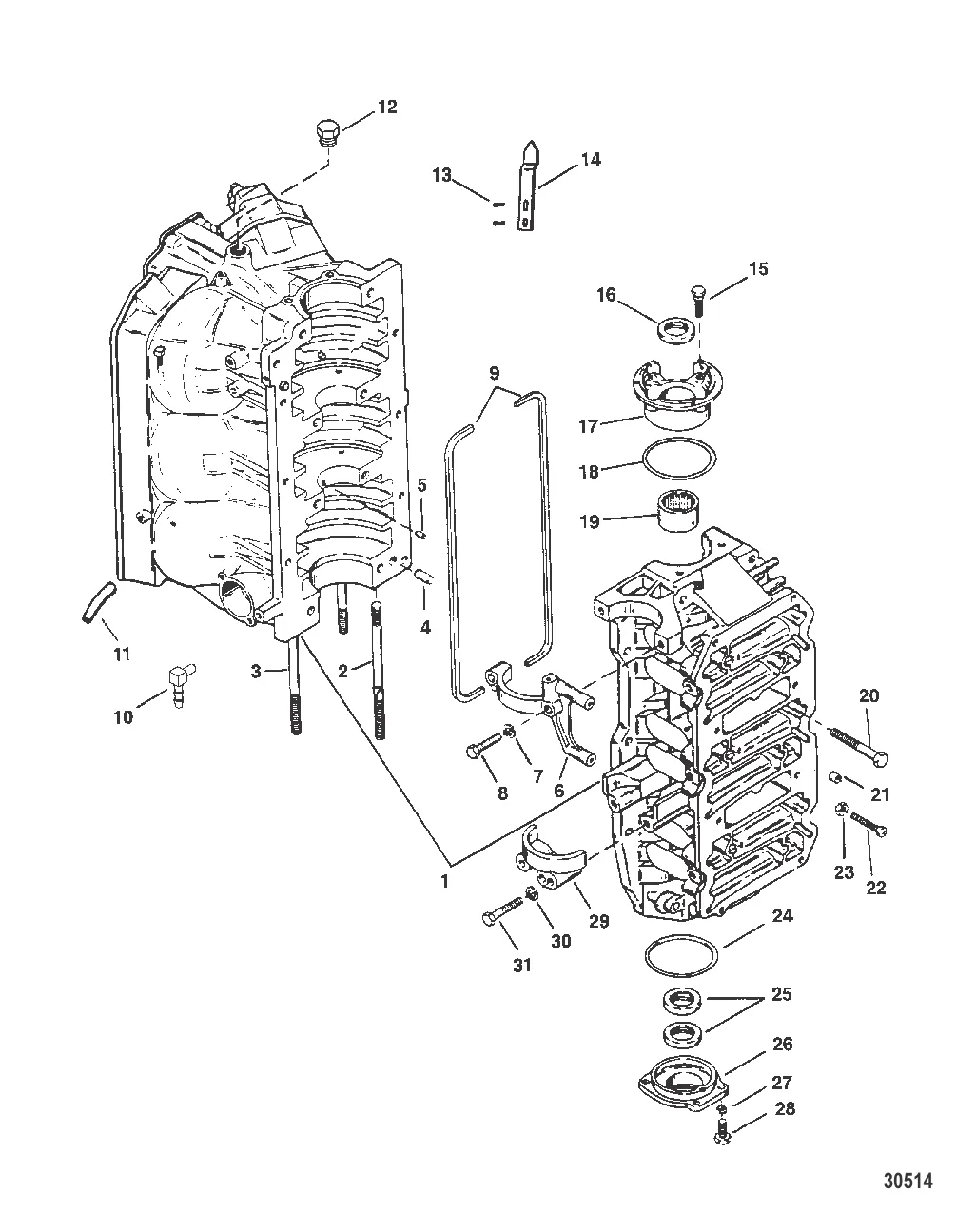
БЛОК ЦИЛИНДРОВ И КОЛПАЧКИ — [0D030200 & Up] - USA — купить в Victory Marine
БЛОК ЦИЛИНДРОВ И КОЛПАЧКИ
1
2
3
5
6
8
9
10
11
12
14
18
19
20
21
22
23
24
26
28
29
30
31

БЛОК ЦИЛИНДРОВ И КОЛПАЧКИ

366 053 ₽

5 374 ₽

5 373 ₽

306 ₽

5 . ШТИФТ Mercury 8M0036405

67296 → 8M0036405

462 ₽

20 574 ₽

567 ₽

242 ₽

2 033 ₽

307 ₽

2 976 ₽

1 012 ₽

225 ₽

9 431 ₽

113 ₽

58 559 ₽

702 ₽

12 923 ₽

631 ₽

565 ₽

448 ₽

23 . ГАЙКА (0.250-20) Mercury 64015

F1341 → F15051 → 64015

266 ₽

579 ₽

Уточняйте

26 538 ₽

109 ₽

260 ₽

Уточняйте

134 ₽

535 ₽

Полезные статьи

Все статьи →
Связаться с нами