Блок цилиндров и колпачки — [0C239553 THRU 0D081999] - USA - Cat.# 90-81609890 — купить в Victory Marine
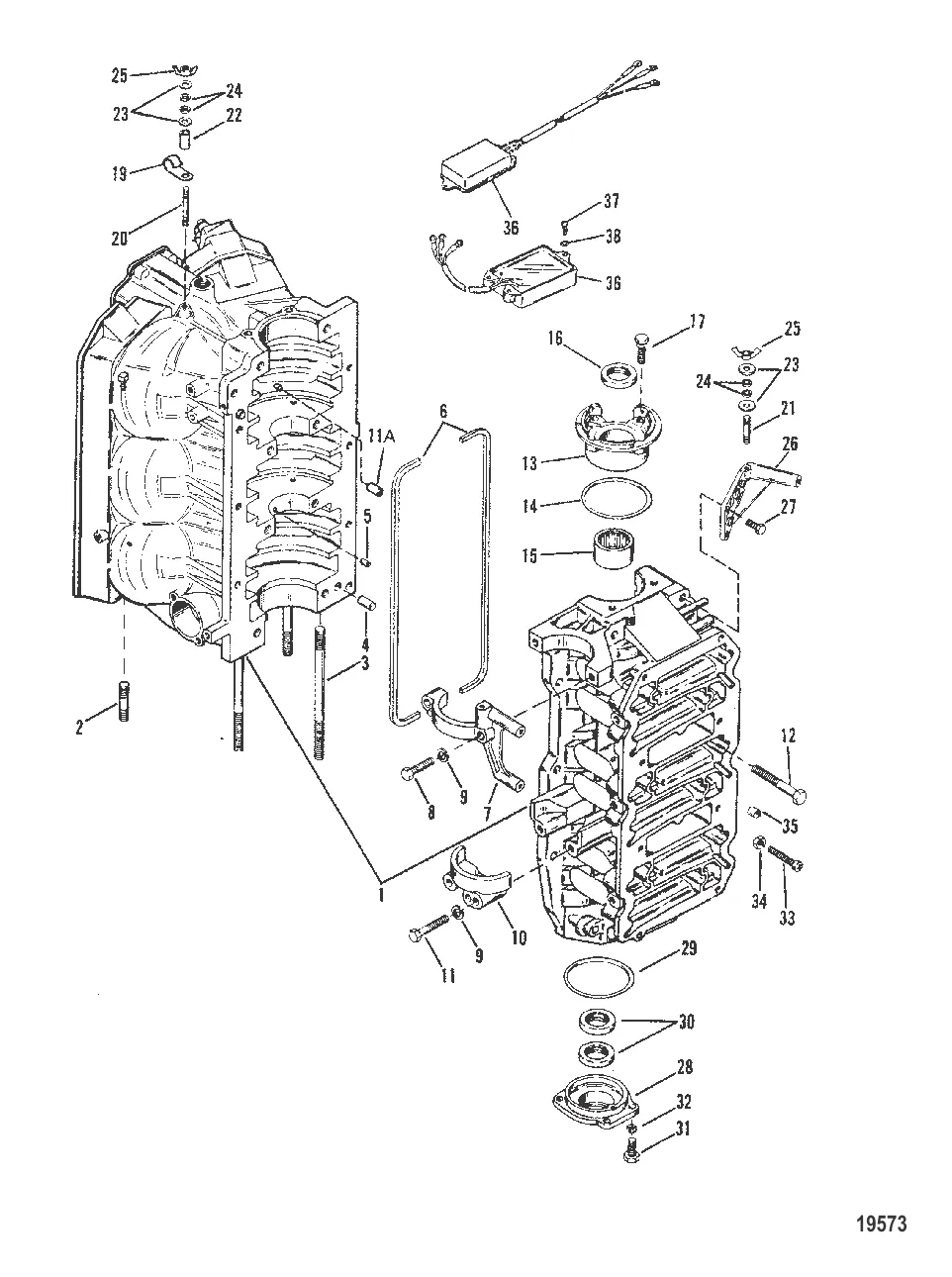
Блок цилиндров и колпачки
2
5
6
7
8
9
10
11
12
19
20
21
22
26
27
31
33
34
35
37
38

Блок цилиндров и колпачки

1 . БЛОК ЦИЛИНДРА Mercury 859211T2

9765T13 → 9765A13 → 9765A7 → 859211T2

297 774 ₽

1 . CYLINDER BLK Mercury 9764T13

9764A13 → 9764T13

Уточняйте

Уточняйте

1 . блок цилиндров Mercury 9763T6

9763A6 → 9763A5 → 9763T6

Уточняйте

1 335 ₽

1 536 ₽

1 362 ₽

1 781 ₽

306 ₽

5 . ШТИФТ Mercury 8M0036405

67296 → 8M0036405

462 ₽

242 ₽

20 574 ₽

353 ₽

134 ₽

10 . КРЫШКА Mercury 76867

66761 → 56030 → 76867

4 193 ₽

535 ₽

512 ₽

631 ₽

225 ₽

58 559 ₽

702 ₽

12 923 ₽

113 ₽

83 ₽

626 ₽

1 340 ₽

645 ₽

77 ₽

176 ₽

626 ₽

8 154 ₽

140 ₽

40 640 ₽

579 ₽

2 500 ₽

251 ₽

109 ₽

448 ₽

34 . ГАЙКА (0.250-20) Mercury 64015

F1341 → F15051 → 64015

266 ₽

565 ₽

30 309 ₽

36 . ADVANCE модуль Mercury 93772A11

93772A8 → 93772A5 → 93772A3 → 93772A11

Уточняйте

297 ₽

451 ₽

Полезные статьи

Все статьи →
Связаться с нами