Блок цилиндров и колпачки — [0G590000 THRU 0G760299] - USA — купить в Victory Marine
Блок цилиндров и колпачки
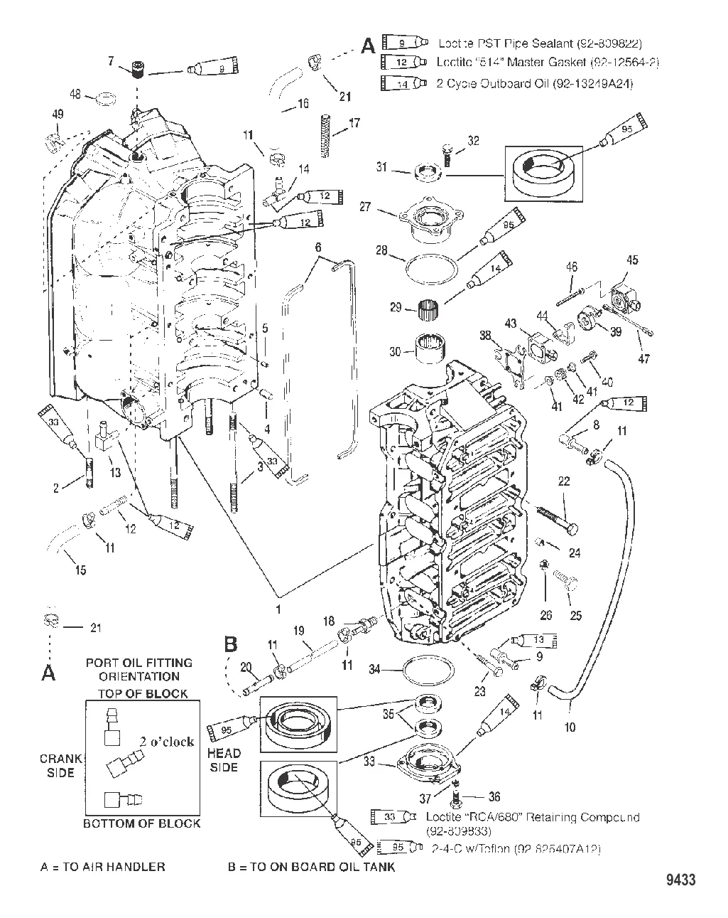
1
2
3
5
6
7
9
10
12
13
14
16
20
21
22
23
24
25
26
27
28
29
34
36
40
41
42
43
44
45
46
47
48
49

Блок цилиндров и колпачки

1 . БЛОК ЦИЛИНДРА Mercury 828340A14

828340T5 → 828340A5 → 828340A14

492 423 ₽

1 536 ₽

1 781 ₽

1 362 ₽

306 ₽

5 . ШТИФТ Mercury 8M0036405

67296 → 8M0036405

462 ₽

242 ₽

2 157 ₽

8 . 426233 ОБРАТНЫЙ КЛАПАН Mercury

426231 → 42623 → 91933 → 426233

Уточняйте

4 296 ₽

6 600 ₽

Уточняйте

2 577 ₽

2 092 ₽

3 120 ₽

16 . Шланг 8M0054152

85606065 → 8M0054152

5 838 ₽

18 . ОБРАТНЫЙ КЛАПАН Mercury 8781051

878105 → 432783 → 432781 → 43278 → 8781051

6 143 ₽

8 732 ₽

152 ₽

28 ₽

631 ₽

225 ₽

565 ₽

427 ₽

26 . ГАЙКА (0.250-20) Mercury 64015

F1341 → F15051 → 64015

266 ₽

56 533 ₽

702 ₽

12 923 ₽

113 ₽

40 640 ₽

579 ₽

Уточняйте

251 ₽

109 ₽

407 ₽

433 ₽

339 ₽

36 887 ₽

5 375 ₽

45 . TPI 8M6005166

83295221 → 8M6005166

52 706 ₽

Уточняйте

47 . LINK ASSY Mercury 8M0084738

8M0008117 → 8M0084738

3 170 ₽

Уточняйте

45 ₽

Полезные статьи

Все статьи →
Связаться с нами