Блок цилиндра Модели EPA, сер. номер 0R448033 и выше — [0R131842 & Up] — купить в Victory Marine
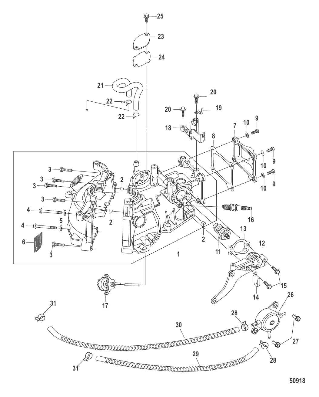
Блок цилиндра Модели EPA, сер. номер 0R448033 и выше
1
2
3
4
7
8
9
10
11
12
15
17
18
19
20
21
22
23
25
26
27
31

Блок цилиндра Модели EPA, сер. номер 0R448033 и выше

136 125 ₽

275 ₽

3 . Болт 850879001

810755010 → 850879001

152 ₽

373 ₽

133 ₽

271 ₽

10 418 ₽

762 ₽

216 ₽

221 ₽

10 . Шайба 953921

16237 → 16224 → 953921

284 ₽

Уточняйте

2 716 ₽

280 ₽

15 . БОЛТ Mercury 879194264

82304224 → 879194264

159 ₽

1 200 ₽

467 ₽

2 608 ₽

19 . ЗАЖИМ Mercury 803563005

8035631 → 803563 → 803563005

387 ₽

20 . БОЛТ Mercury 823042

879194263 → 825702002 → 823042

238 ₽

668 ₽

147 ₽

1 634 ₽

408 ₽

25 . Болт 8248324

82304213 → 804368 → 8248324

194 ₽

12 228 ₽

27 . БОЛТ Mercury 898101953

879194262 → 16830010 → 898101953

166 ₽

4 494 ₽

4 806 ₽

126 ₽

Полезные статьи

Все статьи →
Связаться с нами