Блок цилиндра — [0E093700 THRU 0E138599] - Belgium — купить в Victory Marine
Блок цилиндра
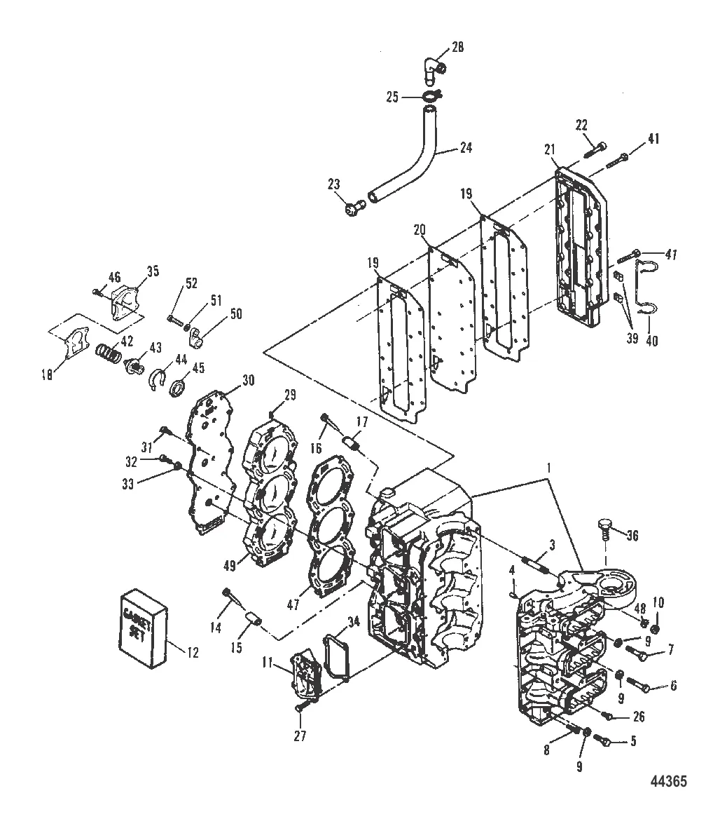
3
5
6
7
8
10
11
12
14
15
16
17
18
19
20
21
22
23
25
29
30
31
32
33
34
35
36
39
40
41
42
43
44
45
46
47
48
50
51
52

Блок цилиндра

Уточняйте

5 201 ₽

306 ₽

5 . Болт 32132

35788 → 35343 → 32132

311 ₽

52 ₽

316 ₽

1 149 ₽

75 ₽

10 . ГАЙКА (.375-16) Mercury 86226

F1346 → F1347 → FI3600004 → 86226

218 ₽

11 . КРЫШКА Mercury 817790A1

817190A1 → 817790A1

Уточняйте

24 146 ₽

236 ₽

326 ₽

16 . ШТИФТ Mercury F691372

F691312 → F691372

128 ₽

338 ₽

251 ₽

2 677 ₽

8 441 ₽

12 571 ₽

260 ₽

487 ₽

8 732 ₽

45 ₽

298 ₽

Уточняйте

30 . КРЫШКА Mercury F692995

F692955 → F692995

23 637 ₽

55 ₽

707 ₽

33 . ШАЙБА Mercury 34437

F1987 → F8035 → 34437

311 ₽

Уточняйте

35 . КРЫШКА Mercury 819693

F476066-1 → 819693

1 724 ₽

7 231 ₽

251 ₽

Уточняйте

692 ₽

Уточняйте

584 ₽

4 935 ₽

883 ₽

2 902 ₽

263 ₽

8 211 ₽

48 . Шайба 35048

37459 → 27969 → 35048

171 ₽

31 056 ₽

759 ₽

146 ₽

335 ₽

Полезные статьи

Все статьи →
Связаться с нами