Бак паросепаратора и топливная направляющая — 7.4L MIE MPI (LH) GEN. V GM 454 V-8 — купить в Victory Marine
Бак паросепаратора и топливная направляющая
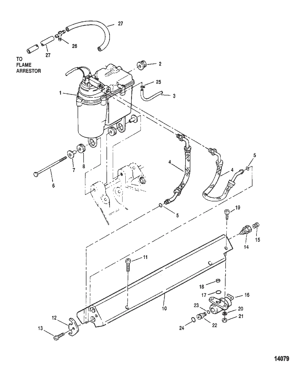
1
2
3
5
6
7
8
10
11
12
13
18
19
20
21
22
23
26

Бак паросепаратора и топливная направляющая

278 020 ₽

662 ₽

3 . РУКАВ Mercury 80568932

805689 → 80568932

1 073 ₽

7 374 ₽

393 ₽

Уточняйте

Уточняйте

338 ₽

75 074 ₽

125 ₽

Уточняйте

Уточняйте

4 379 ₽

1 013 ₽

17 451 ₽

722 ₽

743 ₽

239 ₽

228 ₽

31 ₽

Уточняйте

469 ₽

383 ₽

408 ₽

257 ₽

4 792 ₽

Полезные статьи

Все статьи →
Обслуживание и ремонт

Ремонт редуктора лодочного мотора Mercury своими руками

Подробная инструкция по ремонту редуктора (lower unit) лодочного мотора Mercury: диагностика, снятие, замена сальников, шестерён и подшипников, сборка. Конкретные артикулы запчастей и сравнение стоимости самостоятельного ремонта с сервисом.

1 мин.
Сравнения и обзоры

Обзор Mercury 40 EFI — характеристики, расход, для каких лодок

Подробный обзор подвесного мотора Mercury 40 EFI: технические характеристики, реальный расход топлива, совместимые лодки и сравнение с конкурентами.

1 мин.
Гайды и подбор

Безопасность на лодке с детьми — правила, снаряжение, советы

Как безопасно отдыхать на лодке с детьми: требования ГИМС, выбор детского спасательного жилета, правила поведения на борту. Практические советы от опытных судоводителей для семейных поездок на воде.

1 мин.
Связаться с нами