БАК И КРОНШТЕЙН ПРИВОДА — [0M025000 THRU 0M687143] — купить в Victory Marine

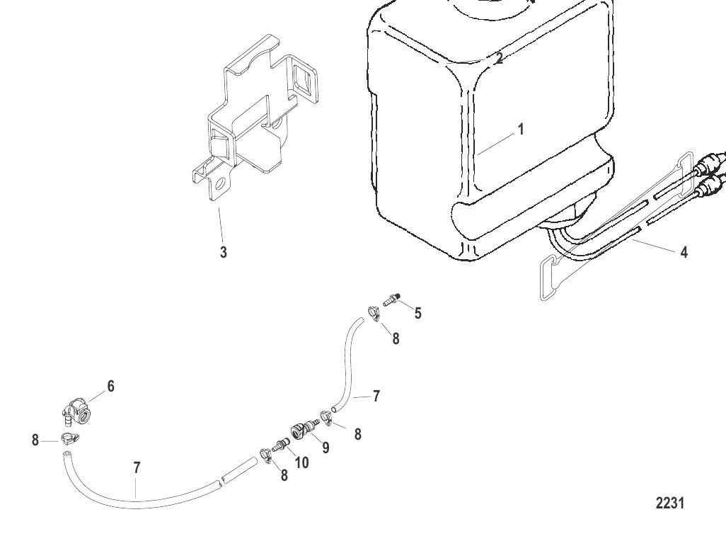
БАК И КРОНШТЕЙН ПРИВОДА

9 000 ₽

1 800 ₽

Уточняйте

602 ₽

774 ₽

2 300 ₽

7 . 8M0214996 Шланг бочка подпитки (кусок)

8M0062600 → 1940971 → 1940964 → 8M0040618

1 800 ₽

346 ₽

2 541 ₽

571 ₽

Полезные статьи

Все статьи →
Гайды и подбор

12-вольтовая система на лодке — генератор, розетки, зарядка от мотора

Как организовать электропитание на лодке: подключение к генератору мотора Mercury, розетки, зарядка аккумулятора и электроника.

1 мин.
Гайды и подбор

Ловля щуки на кружки с лодки — оснастка, живец, тактика

Подробный гайд по ловле щуки на кружки: устройство снасти, оснастка, выбор и насадка живца, тактика расстановки и управления. Традиционная русская техника, которая работает безотказно.

1 мин.
Обслуживание и ремонт

Электросхема лодочного мотора Mercury: популярные модели

Подробный разбор электросхем лодочных моторов Mercury — от простых 9.9/15 двухтактных до мощных 150-200 четырёхтактных. Цветовая маркировка проводов, система зажигания, зарядки и запуска. Диагностика мультиметром, типичные неисправности и когда пора к электрику.

3 мин.
Связаться с нами