09 крепление Widebite (черное) (Без устройства для быстрого закрепления) (MSK300032) — [0U018186 THRU 0U025101] — купить в Victory Marine
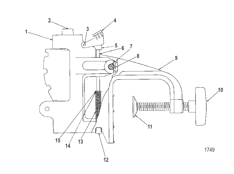
09 крепление Widebite (черное) (Без устройства для быстрого закрепления) (MSK300032)
1
2
12
13

09 крепление Widebite (черное) (Без устройства для быстрого закрепления) (MSK300032)

1 . SUPPORT-BLACK Mercury MSK02101T

MSK02101 → MSK02101T

6 717 ₽

719 ₽

442 ₽

670 ₽

995 ₽

1 747 ₽

1 857 ₽

61 ₽

11 433 ₽

2 943 ₽

652 ₽

12 . ЗАЩЕЛКА Mercury MSK02401T

MSK02401 → MSK02401T

4 250 ₽

407 ₽

299 ₽

173 ₽

Полезные статьи

Все статьи →
Связаться с нами