03 транец (черный) (Без устройства для быстрого закрепления) (MCK30007S) — [9B017600 & Up] — купить в Victory Marine
03 транец (черный) (Без устройства для быстрого закрепления) (MCK30007S)
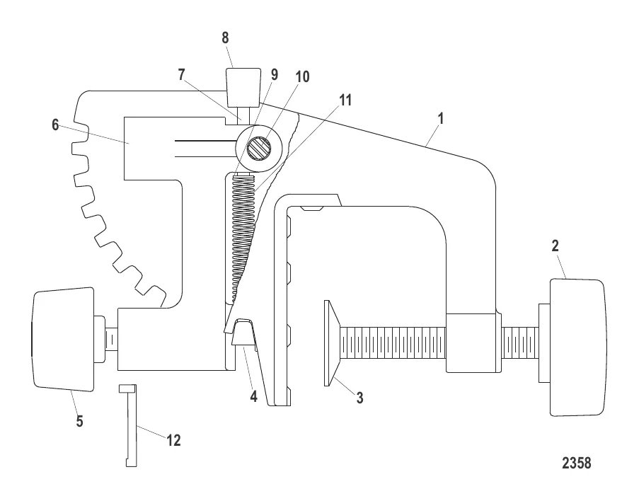
1
4
5
6
7
8
10
11

03 транец (черный) (Без устройства для быстрого закрепления) (MCK30007S)

9 454 ₽

2 943 ₽

652 ₽

4 . LATCH BAR Mercury 8M0047772

M899380T → 8M0047772

1 141 ₽

5 . KNOB-BAR @5 Mercury MCK08203T

MCK08203 → MCK08203T

707 ₽

6 . SUPPORT-COLUMN Mercury MCK02101T

MCK02101 → MCK02101T

2 490 ₽

7 . PIN-TRANSOM @5 Mercury M899386T

MCK10601C → M899386T

1 332 ₽

8 . BUMPER-RED @2 Mercury MCK02302T

MCK02302 → MCK02302T

304 ₽

173 ₽

10 . PIN-PIVOT @2 Mercury M899387T

MCK10501C → M899387T

1 387 ₽

407 ₽

304 ₽

Полезные статьи

Все статьи →
Связаться с нами